欢迎来到初中升学网!
手机版

微信

广东省2026年普通高校招生统一考试(下称普通高考)报名工作将于2025年11月1日至10日进行,想要参加2026年广东3+证书(高职高考)的考生,一定要记得参加高考报名,拿到考生号!
【导语】近期,广东省教育考试院发布了一则关于“做好广东省2026年普通高校招生统一考试报名工作”的通知,通知中显示2026年广东省高考报名将于2025年11月1日至10日进行,本文为大家整理了通知的部分重要内容以供参考,具体如下。

一、报名时间
2026年广东省普通高校招生统一考试报名时间为2025年11月1日至10日。考生报名包含系统注册、网上报名和确认报名共3个步骤,其中系统注册和网上报名的时间为:11月1日至10日,确认报名时间:11月6日至10日。各地市可在上述时段内细化安排具体报名时间。
拟参加2026年普通高校招生录取(含春季高考和夏季高考)的以下类型考生须在上述时间报名:
1.普通高等学校招生统一考试(普通高考)考生;
2.普通高等学校招收中等职业学校毕业生统一考试(简称 “3+证书”考试)考生(含报考高职院校的退役士兵、西藏新疆内职班应届毕业生);
3.高职院校依据普通高中学业水平成绩录取(简称依学考成绩录取)考生(此类考生报名参加普通高中学业水平考试的具体安排另行通知);
4.高等学校单独组织考试(含免试)及单独录取的保送生、运动训练、武术与民族传统体育专业、职教师资、残障(单招)、消防救援(单招)等类型考生;
5.报考高职院校自主招生(含现代学徒制试点等,简称高职自主招生)及中高职贯通三二分段高职学段(简称三二分段)考生;
6.高职院校五年一贯制录取并于2026年进入高职阶段学习(简称五年一贯制)学生。
二、报名条件
(一)下列人员可以在广东省报名参加普通高考
遵守中华人民共和国宪法和法律,高中阶段学校毕业或具有同等学力,身体状况符合相关要求,并符合下列条件之一:
1.具有广东省户籍,且出生后首次申报户口登记在广东(即身份证号码的前两位为44)。
2.父母一方(或法定监护人,下同)属于符合《广东省人才优粤卡实施办法》(粤府〔2023〕29 号)规定的人才优粤卡持有人,或是经省或地级市人民政府认定的符合《中共广东省委 广东省人民政府关于加快吸引培养高层次人才的意见》(粤发〔2008〕15 号)规定的高层次引进人才。
3.父母一方属于驻粤部队现役军人,报考人员须具有广东省高中阶段学校学籍,并实际就读。
4.户籍从外省迁入广东省的考生,须符合以下要求:
(1)应届毕业生
①具有广东省高中阶段学校连续3年学籍(时间计算到高考当年8月31日,下同)并实际就读,且高考报名时具有广东省户籍的。
②考生父母(含父母一方或法定监护人)为广东户籍,考生取得广东省户籍满1年、学籍满1年不足3年并实际就读的。即考生于高三年级开学前(时间统一截至2025年8月31日)已将户籍迁入广东省,且高三年级开学前已具有广东省高中阶段学校学籍并连续实际就读。
③考生父母(或法定监护人)均非广东户籍,但考生取得广东省户籍满2年、学籍满2年不足3年并实际就读的。即考生于高二年级开学前(时间统一截至2024年8月31日)已将户籍迁入广东省,且高二年级开学前考生已具有广东省高中阶段学校学籍并连续实际就读。
(2)往届毕业生
①持广东省高中阶段学校毕业证书的。
②持外省高中阶段学校毕业证书,户籍迁入广东省满18个月(时间计算到高考当年8月31日),且高考报名时高中阶段学校毕业满1年的。
(3)同等学力人员
①户籍迁入广东省满3年(时间计算到高考当年8月31日),且在广东省参加中考,高考录取时考生须初中毕业(含结业)满3年,并取得广东省普通高中同等学力证明的。
②户籍迁入广东省满18个月(时间计算到高考当年8月31日),高考报名时初中学校毕业(含结业)满4年,并取得高中同等学力证明的。
5.符合《广东省人民政府办公厅转发省教育厅等部门关于做好进城务工人员随迁子女接受义务教育后在广东省参加升学考试工作意见的通知》(粤府办〔2012〕137号)报考条件的进城务工人员随迁子女。
6.持有香港或澳门居民身份证,同时持有《港澳居民来往内地通行证》或《港澳居民居住证》,并在广东省高中阶段学校实际就读的香港、澳门学生。
7.持有在台湾居住的有效身份证明,同时持有《台湾居民来往大陆通行证》或《台湾居民居住证》,并在广东省高中阶段学校实际就读的台湾省籍学生。
8.在广东省定居,并在广东省高中阶段学校实际就读,且持公安机关或国家移民管理局签发的《中华人民共和国外国人永久居留证》的外国侨民。
9.在广东省内地西藏、新疆高中班就读的毕业生,可以在广东省报名参加普通高考,但不在广东省录取。
10.在广东省就读,符合《广东省教育厅关于做好内地西藏新疆中职班应届毕业生升入高职院校有关工作的通知》规定的内地西藏新疆中职班应届毕业生,可以报名参加“3+证书”考试。
11.在广东省就读,符合高校(中国科学技术大学、东南大学、西安交通大学)少年班、(北京大学、清华大学)数学英才班、清华大学数学领军计划、清华大学物理攀登计划、北京大学物理学科卓越人才培养计划等报考资格的非高三毕业班学生,可根据招生院校提供的资格考生名单报考,考生如需参加文化课统一考试,考试成绩只能作为报考高校少年班、数学英才班等的录取依据,不能作为当年广东省普通高校招生其他院校录取的依据。清华大学数学领军计划、北京大学物理学科卓越人才培养计划等非高三毕业班资格学生只参加高考报名,不参加文化课统一考试(具体以高校有关招生章程为准)。
12.其他符合教育部报考规定的。
(二)下列人员不得在广东省报名参加普通高考
1.具有普通高等学历教育资格的高校在校生,或已被普通高校录取并保留入学资格的学生。
2.高中阶段学校非应届毕业的在校生。
3.在高中阶段非应届毕业年份以弄虚作假手段报名并违规参加普通高校招生考试(包括全国统考、省级统考和高校单独组织的招生考试,简称高校招生考试)的应届毕业班学生。
4.因违反国家教育考试规定,被给予暂停参加高考处理且在停考期内的人员。
5.因触犯刑法受到刑事处罚、尚在处罚期内的。其中,未成年人按相关法律规定执行。
6.不符合广东省普通高考报名条件的其他人员。
高考报名后至开考前,如发现考生有上述不符合报考条件的情况,由省级招生考试机构按程序取消其高考报名资格。
(三)其他事项
1.驻粤部队现役军人身份由省军区统一核准确认。按照省军区政治工作局有关工作安排,子女符合高考报名条件的驻粤部队现役军人应于2025年10月15日前通过所在团以上部队,将相关材料递交给学校所在地级城市军分区(警备区)政治工作部门,相关材料咨询有关军分区(警备区)政治工作部门。
2.本通知所称的高中阶段学校包括普通高中、中等职业学校(含职业高中、中专、成人中专、技工学校、技师学院)。
3.全日制高中阶段学校应届毕业生凭学校开具的应届毕业证明参加高考报名。高中阶段学校往届毕业生及非全日制高中阶段学校毕业生须取得毕业证书方可参加高考报名。
4.普通高中同等学力认定工作依照《广东省教育厅关于规范普通高中同等学力认定工作的通知》(粤教基函〔2019〕129号)执行,具体考核认定办法以各地市教育局为准。
5.具有广东省户籍的应、往届毕业生,如户籍迁入时间或学籍(学历)未达到上述广东省普通高考报名条件的,可以在广东省报名参加普通高考,但只能参加高职院校(专科)批次录取,不能参加本科批次录取。
6.学制少于三年的高中阶段学校毕业生,其初中毕业时间到高考当年8月31日不满3年的,可以在广东省报名参加普通高考,但只能参加高职院校(专科)批次录取,不能参加本科批次录取。
7.考生不得在广东省和其他省份同时参加2026年普通高考报名。
三、报考地点
(一)应届毕业生
1.广东省户籍考生原则上在学籍所在地(市)报考,或在户籍所在地(市)报考,不得在其他地市借考。
2.随迁子女考生原则上在学籍所在地(市)报考,或在父母居住证所在地(市)报考,不得在其他地市借考。
(二)往届毕业生
1.广东省户籍考生原则上在户籍所在地(市)报考,能否在原高中(含中职、技校)毕业学校所在地(市)报考,按各地市相关规定执行,不得在其他地市借考。
2.随迁子女考生原则上在原高中(含中职、技校)毕业学校所在地(市)报考,能否在父母居住证所在地(市)报考,按各地市相关规定执行,不得在其他地市借考。
(三)同等学力人员
统一在户籍所在地(市)报考,不得在其他地市借考。
四、报名办法
(一)报考方式
高考报名前,各地招生考试机构须提前在高考报名系统中审定辖区内各高中阶段学校、报名点代码,并在系统中设定报名点与考生号对应规则。考生属性与考试科目之间关系说明见附1。各地可根据本地实际,组织考生自行上网填报高考报名信息或在报名点(中学)集中填报。高职院校五年一贯制录取且2026年进入高职阶段学习学生的确认工作由所属高职院校负责。
(二)考生报名基本流程
1.考生注册。
考生应先进入广东省普通高考报名系统(网址为:https://pg.eeagd.edu.cn/ks),凭姓名、证件号注册考生账号,设置密码,并绑定手机号。
2.报名资格初核。
报名前,考生应事先准备符合广东省报考资格的相关证明材料(含身份证、户口簿、学籍学历等材料),在所在高中阶段学校或到县(市、区)招生办公室进行报名资格初核。考生类型与所需报名材料清单见附 2。应届毕业生可由所在学校事先核准考生报考条件和材料,到报名点集体办理报考手续。往届毕业生、社会人员须持报名材料到市县招生考试机构指定的社会报名点办理报考手续。经初核符合广东省高考报名条件的考生,由报名点派发考生号。考生须提供真实的报名材料(含加分和优先录取资格材料),如发现有弄虚作假情况的,将纳入诚信体系严肃处理。
3.网上报名。
凭个人证件号码或注册时填报的手机号码和注册时设置的密码登录广东省普通高考报名系统进行网上报名。网上报名时,考生须认真阅读报考须知,签订《考生诚信考试承诺书》(见附 3),并按系统指引,录入本人的基本信息(含普通高中学业水平考试选择考科目在内的报考信息、联系方式、个人简历、家庭情况等),上传身份证、户口簿等身份证明材料(其中身份证号 44 开头的广东户籍考生如经报名系统核查户籍信息验证通过的,无需上传),采集考生相片,并缴纳报考费。上传的报名材料支持 JPG/PNG/PDF 文件格式,大小不超过 2M,其中身份证要求上传正反两面、户口簿要求上传首页、户主页、父 /母亲或监护人页、考生本人页,考生可提前准备好电子文档,方便报名时上传。
4.确认报名。
网上报名完成后,考生还须在规定时间内持二代(或三代)身份证、户口簿、学籍学历等证明材料到市县招生办公室指定的报名点办理确认报名手续。确认报名手续包括确认报名资格、校对和核准报考信息等。具体报名办法按《广东省2026年普通高校招生统一考试报名实施细则》(见附 4)进行。
(三)考生号编排规则
广东省高考考生号采用10位编制,其中第一、二位为地市码;第三、四位为县区码;第五位为考生属性码,“1”代表普通类(物理),“2”代表普通类(历史),“3”代表体育类,“4”代表艺术类,“6”代表单考单招类,“8”代表“退役士兵”类,“9”代表“3+证书”类;第六至十位为流水号,其中第六位为“9”的是随迁子女考生。每个考生只能有一个高考考生号。保送、运动训练、武术与民族传统体育、职教师资、残障(单招)、高职自主招生、高职三二分段、依学考成绩录取、五年一贯制、消防救援(单招)属于单考单招类型,不参加夏季高考统考,采用考生属性为“6”的考生号报名。单考单招类考生如需参加统考或兼报其他科类考试,应使用相应属性的考生号报名。
(四)选考科目要求
根据教育部2021年修订的《普通高校本科招生专业选考科目要求指引(通用版)》,拟参加2026年广东省普通高考的考生可参考2025年在粤招生高校本科专业(类)选考科目要求(可查阅广东省教育考试院编制发行的《广东省2025年普通高等学校招生专业目录》)或咨询相关高校,了解目标高校招生专业(类)的选考科目要求。实际招生高校和招生专业以《广东省2026年普通高等学校招生专业目录》公布为准。
五、特殊考生报名材料办理与审核
(一)户籍从外省迁入广东省的考生
户籍从外省迁入广东省的考生,高考报名前,应届毕业生须提前办理《广东省2026年普通高考报名应届毕业生学籍户籍审核表》(见附5,简称《学籍户籍审核表》);往届毕业生须提前办理《广东省2026年普通高考报名往届毕业生报名资格审核表》(见附6,简称《报名资格审核表》)。《学籍户籍审核表》和《报名资格审核表》经县(市、区)招生考试机构审核,签署意见为“材料已核,同意报名高考”的,才能在广东省正常报考,并填报本专科批次院校志愿;签署意见为“仅限报高职院校”的,只能填报高职(专科)批次院校志愿。仅报考高职院校的中职学校毕业生(含五年一贯制、高职三二分段、“3+证书”专科批次、高职自主招生)无需填写《学籍户籍审核表》和《报名资格审核表》。《学籍户籍审核表》和《报名资格审核表》办理流程如下:
1.考生办理流程。
考生注册成功后,在网上填写并打印《学籍户籍审核表》或《报名资格审核表》后,应届毕业生连同身份证、户口簿等材料提交所在中学集体办理《学籍户籍审核表》;往届生携带身份证、户口簿、高中阶段学校毕业证到户籍所在县(市、区)招生办办理《报名资格审核表》。
2.中学审核。
应届毕业生所在中学负责《学籍户籍审核表》内容的初核工作,包括核对《学籍户籍审核表》信息与相关证件信息是否一致,学籍和实际就读情况是否属实等。审核完成后,需有中学校长签名,并盖学校公章后,提交县(市、区)招生办公室审核。
3.县区招办审核。
县(市、区)招生办公室负责根据考生提交的报考证明材料,审核《学籍户籍审核表》和《报名资格审核表》,给出“材料已核,同意报名高考”或“仅限报高职院校”或“不同意在广东省高考报名”的审核意见并签名盖章。各地应充分利用学籍、户籍数据进行核验,审核结果在高考报名系统上提交,并及时告知考生。
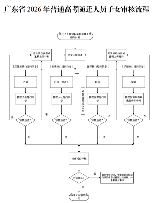
(二)随迁子女考生
随迁子女考生在高考报名前应提前办理《广东省2026年城务工人员随迁子女高考报名资格审核表》(见附7,简称《随迁子女资格审核表》)。办理流程如下:
1.考生提交材料。
考生填写《随迁子女资格审核表》,并提交本人身份证、户口簿、父母居住证、父母社保(含养老保险和医疗保险)缴费证明等材料给所在中学进行资格初核。
2.中学初核。
中学负责对《随迁子女资格审核表》进行初核。初核主要包括考生所填信息是否真实准确,是否符合广东省随迁子女报考条件。经初核,符合报考条件的,根据各市县制定的随迁子女高考报名具体工作流程,报相关职能部门审核。不符合广东省报名条件的随迁子女,所在中学应及早做好解释和学生分流工作,引导学生尽早回户籍所在地参加高考报名。尤其是艺术类、体育类、中职类等特殊类型考生,因考试时间较早,一旦错过当地高考报名将无法安排考试。
3.职能部门审核。
各市县根据本地随迁子女审核工作流程充分利用数据联审等方式,对随迁子女考生报名资格进行审核,办理《随迁子女资格审核表》盖章等。审核结果应尽早告知考生。
4.考生录入信息。
审核通过的随迁子女考生应在网上预报名后,通过高考报名系统输入《随迁子女资格审核表》相关信息。并在报名确认时,连同身份证、户口簿等报名材料到报名点办理报名确认手续。
(三)残疾人考生
残疾人考生在网上报名时应在高考报名系统上填写相应的残疾信息。根据《教育部 中国残联关于印发残疾人参加普通高等学校招生全国统一考试管理规定的通知》(教学〔2017〕4号)规定,符合条件的残疾人考生可以申请在普通高考中佩戴助听器、使用光学放大镜、使用大字号试卷、延长考试时间、免除英语听说考试等合理便利。办理流程如下:
1.考生申请。
残疾人考生凭本人身份证、二代残疾人证,填写《残疾人报考广东省 2026 年普通高考合理便利申请表》(见附 8)在高考报名时向报名点提出正式的申请,并按当地安排,由专家组进行现场确认和评估。无残疾人证考生不能申请合理便利。肢体残疾申请延长考试时间的考生,应在申请表中说明考生肢体残疾的具体情况,是否影响书写,必要时可附医院诊断报告。
2.市县审核评估。
市县招生考试机构联合残联、卫生等相关部门专业人员组成专家组,对考生的申请材料和残疾情况进行现场评估,形成《残疾人报考广东省 2026 年普通高考合理便利专家评估表》(见附 9)。
3.结果告知。
各市汇总所有考生申请表和评估表,填写《残疾考生参加广东省2026年普通高考申请合理便利汇总表》(见附 10),于2025年11月25日前上报省教育考试院(考试招生一处)。省教育考试院将联合省残联、医疗专家进行复核,最终审核结果由省教育考试院发文通知。
(四)“3+证书”考生
“3+证书”考试的报考对象为中等职业学校(含职业高中、中专、成人中专、技工学校、技师学院)毕业生(包括退役士兵、西藏新疆内职班应届毕业生)。其中,全日制教育的中等职业学校(含职业高中、中专、技工学校、技师学院)应届毕业生可持学校应届毕业证明报考,入学时由录取高校审核毕业证原件,无中等职业学校毕业证的学生,不予报到和注册。中等职业学校往届毕业生及非全日制的中等职业学校(含成人中专等)毕业生持毕业证书报名。
“3+证书”考生报名时须获得相应职业技能证书,种类包括教育部教育考试院颁发的英语或计算机等级考试证书,省教育考试院颁发的“广东省中等职业技术教育专业技能课程考试证书”(简称专业技能课程证书),人社部门职业技能鉴定考核机构(各级职业技能鉴定指导中心)组考和颁发的部分职业资格证书,卫生行政主管部门颁发的护士执业资格考试成绩合格证明或护士执业证书,“1+X 证书制度试点”职业技能等级证书。退役士兵凭退役证可以报考。西藏新疆内职班应届毕业生由学生就读学校联系地市招生办报考。
已取得教育部教育考试院颁发的英语或计算机等级考试证书和省教育考试院颁发的专业技能课程证书的考生,高考报名时,系统会自动关联证书信息;未自动关联的其他证书,由考生据实填写证书信息,录取前将核查是否属实。未取得证书,但已报名参加2026年1月由省教育考试院组织的专业技能课程证书考试的考生,可先报名,并在春季高考填报志愿前取得证书,方可参加“3+证书”考试的填报志愿和投档录取。获得专业技能课程证书,但未能通过高考报名系统核验的考生,需于填报志愿前携带本人身份证、证书原件、复印件到地市招生办办理证书确认手续。退役士兵持身份证和退役证办理相关手续。
持人社部门职业技能鉴定考核机构(各级职业技能鉴定指导中心)组考和颁发的部分职业资格证书(证书名称可参见 2026 年普通高校招收中职毕业生考试招生工作的有关文件)和卫生行政主管部门颁发的护士执业资格考试成绩合格证明或护士执业证书的考生,报考时须如实填写证书名称、证书号码等信息,并上传证书图片。
已获得“1+X证书制度试点”职业技能等级证书(下称职业技能等级证书)的考生,报名时,系统会自动关联考生职业技能等级证书信息;若系统未能关联到考生的职业技能等级证书信息,考生可在系统中填写相关信息,并上传证书电子版等证明材料。尚未获得职业技能等级证书,但在2026年3月1日前可获得职业技能等级证书的考生,还须在广东省2026年春季高考志愿填报前联系报名点或所在地市、县区招生办补充相关证书信息。广东省2026 年春季高考志愿填报时间另文通知。报名完成后,省教育考试院将统一核查考生所填报的职业技能等级证书信息。
考生须对填写证书信息的真实性负责。招生院校在录取、入学时须对职业资格证书进行核验。职业资格证书不符合招生专业要求或未能通过核验的考生作退档或退学处理。建档时,中等职业学校毕业证和职业技能证书的复印件须放入档案。
(五)体育艺术类(含体育类、音乐类、舞蹈类、表(导)演类、播音与主持类、美术与设计类、书法类、戏曲类,下同)考生
体育艺术类文化课考试科目和普通类文化课考试科目一致。其中,首选科目物理或历史均可。
艺术类专业能力考试分为省统考和校考。音乐类、舞蹈类、表(导)演类、播音与主持类、美术与设计类、书法类六个类别省统考由广东省教育考试院组织,采取全省统一命题、统一考试、统一评卷(面试评分)的形式;戏曲类实行省际联考。艺术类考生只能选择其中一种,不得兼报;其中,音乐类考生在音乐教育、音乐表演(声乐)、音乐表演(器乐)三个专业方向选择填报并允许兼报;播音与主持类考生在普通话、粤语两个专业方向选择填报并允许兼报;表(导)演类考生在戏剧影视表演、服装表演、戏剧影视导演三个专业方向选择填报并允许兼报。校考由招生院校自行组织,参加校考的考生必须报名参加相应艺术类专业的省统考。
体育、艺术类考生报名时,需认真了解体育、艺术类专业考试招生的相关政策,具体内容详见《关于印发广东省 2026 年普通高校体育类专业招生报名及考试办法的通知》《关于印发广东省2026年普通高校艺术类专业考试招生办法的通知》。
六、考试费
考生须按规定缴纳考试费。考试费标准按照《广东省发展改革委 广东省财政厅关于规范全省教育部门教育考试行政事业性收费及有关问题的通知》(粤发改价格〔2022〕442号)执行。文化科考试费和艺术类、体育类专业能力(术科)考试统考费一同缴纳,实行网上缴费。
七、考生信息采集
考生信息采集应坚持基础身份特征信息用设备和程序采集,人工填报信息应采用交叉核对,重复校验的方式确保信息准确性。考生对所填报考信息的准确性负责。
(一)采集范围
参加高考报名的各类考生均需按要求采集考生信息。
(二)基础信息采集
考生基本身份特征信息使用电子设备程序统一采集。考生身份证信息统一采用身份证阅读器采集,考生相片和人脸特征信息数据通过省普通高考报名系统和省教育考试院官微小程序采集。其他考生信息由考生登录高考报名系统录入。考生姓名中无法输入的生僻字使用支持国标大字符集(GBK)的输入法输入,确实找不到的生僻字用大写拼音字母代替,并在报名确认时向报名点(中学)申请备案正确姓名。
(三)信息采集要求
1.各县(市、区)招生办公室要确保辖区内各报名点在报名工作开始前配置好身份证阅读器,并认真组织系统测试和操作培训。考生报名及现场确认流程见附15。
2.对网上报名阶段无法正常采集相片的考生,工作人员须现场核查考生信息与身份证信息是否一致,并现场审核或重新采集相片。
3.考生信息采集完成后,报名点应打印出《广东省2026年普通高校招生统一考试考生报名表》给考生核对确认,确认无误后签名,并由报名点工作人员收回放入档案内。
4.报名结束后,报名点须将姓名中有生僻字而无法录入系统的考生姓名、考生号造册连同考生身份证复印件上报,由地级市招生考试机构汇总后统一上报省教育考试院(信息管理处)。并按要求完成考生资格核验、数据核准、统计等相关工作。
八、加分和优先录取资格
(一)申报范围
在《2026年普通高考加分资格考生信息采集分类表》(见附11)、《2026年普通高考同等条件下优先录取资格考生信息采集分类表》(见附12)中,凡信息点代码栏未注明“不需采集” 的加分资格和优先录取资格类型,均须在普通高考报名时申报。
(二)申报材料
符合有关加分资格和优先录取资格的考生向所在市招生办公室提出申请,申请受理截止日期为2025年11月10日。未在截止日期前提出申请的考生视为自动放弃加分资格和优先录取资格。
1.烈士子女(非军人烈士子女)考生申请加分,需提供本人身份证、家庭户口本(含考生及父或母)、父母结婚证、烈士证明书、抚恤证等原件及复印件。
2.按照《广东省人民政府台湾事务办公室 广东省教育厅关于取消台胞及台胞子女在广东省就读相关证明事项的通知》(粤府台发〔2018〕3号)要求,参加普通高校统一考试,且持有《中华人民共和国台湾居民居住证》、五年期《台湾居民来往大陆通行证》之一的台胞,或持有《中华人民共和国居民户口簿》的台胞子女(籍贯为台湾),在办理高考照顾录取手续时,需提供上述相应证件材料的原件及复印件。
3.参加普通高考的自主就业的退役士兵,向市招生办提出加分资格申请时需提供本人退出现役证和身份证原件及复印件。退出现役证需复印封面及内页。
(三)资格审核
1.初审。
各市招生办对申报2026年普通高考加分资格和优先录取资格的考生原始材料及其复印件进行初审,并于2025年11月25日前将经初审通过的考生信息录入系统。当考生符合多项资格时,在系统中可以多选,并按本、专科层次选择高分项输入。
2.复核。
各市招生办录入完成后在网上打印出《2026年符合普通高考加分资格考生复核表》(见附13)、《2026年符合普通高考同等条件下优先录取条件资格考生备案表》(见附14),并按附13、14表中名单顺序分别整理申请加分资格、优先录取资格的考生证明材料复印件(每份复印件上须标注“此件与原件一致”字样,签署核准人姓名和日期)。附13表加盖公章后连同相关考生证明材料复印件于11月29日前报送省招生办复核,附14表及相关考生证明材料复印件由各市招生办核准备案。
3.公示。
省招生办复核后,将符合普通高考考生加分资格名单在省教育考试院网站予以公示,公示信息保留至2026年年底,接受社会监督。未经公示的考生不能获得相关加分资格。
(四)另行采集类型
1.军人子女(含军人烈士子女)考生
根据《广东省教育厅 广东省军区政治工作局 广东省双拥工作领导小组办公室关于印发<广东省军人子女教育优待实施细则>的通知》(政〔2022〕1250号)规定,军人子女,包括现役军人的子女、烈士子女、因公牺牲和病故军人的子女。符合军人子女加分和优先录取政策并申请加分资格和优先录取资格的考生,由驻粤部队军人所在团以上单位政治工作部门于2025年12月1日前向驻地军分区(警备区)提报本单位参加高考的军人子女名单(考生号、姓名、性别、优待类别)和相关证明材料,非驻粤部队在上述规定时间内向考生就读学校所在地军分区(警备区)提报。省军区政治工作局汇总审核后,报省招生办。省招生办将根据省军区政治工作局审核结果,在省教育考试院网站上公示通过审核的加分资格考生名单。
2.消防救援人员及其子女(含消防救援人员烈士子女)考生
根据《应急管理部 教育部关于做好国家综合性消防救援队伍人员及其子女教育优待工作的通知》(应急〔2019〕37号)及教育部有关规定,国家综合性消防救援队伍人员及其子女参加全国统考录取的,参照军人有关优待政策执行。符合消防救援人员及其子女加分和优先录取政策并申请加分资格和优先录取资格的考生,由各地市支队级以上单位政治工作部门在规定时间向广东省消防救援总队政治部提报本单位参加高考的消防救援人员及其子女名单(考生号、姓名、性别、优待类别)和相关证明材料。广东省消防救援总队政治部汇总审核后,报省招生办。省招生办将根据省消防救援总队政治部审核结果,在省教育考试院网站上公示通过审核的加分资格考生名单。
3.“三侨生”、少数民族考生
省招生办联合省侨办、省民宗委对三侨生、少数民族聚居区少数民族考生的资格进行核准确认,以保证三侨生、少数民族聚居区少数民族考生录取的公平公正。三侨生的资格审核工作按《关于印发<广东省人民政府侨务办公室>的通知》(粤侨办〔2021〕1 号)要求执行。少数民族聚居区少数民族考生的资格审查工作,按照《广东省民族宗教委 广东省招生委员会关于做好普通高校招收广东省少数民族聚居区少数民族考生工作的通知》(粤民宗规〔2020〕1号)要求执行。
九、思想政治品德考核
思想政治品德考核主要考核考生本人的现实表现。
(一)考生所在学校或单位应对考生的政治态度、思想品德做出全面鉴定,并对其真实性负责。无就读学校或工作单位的考生原则上由所属的乡镇、街道办事处鉴定。
(二)考生有下列情形之一且未能提供对错误的认识及改正错误的现实表现等证明材料的,应认定为思想政治品德考核不合格:
1.有反对宪法所确定的基本原则的言行或参加邪教组织,情节严重的;
2.触犯刑法、治安管理处罚法,受到刑事处罚或治安管理处罚且情节严重、性质恶劣,尚在处罚期内的。
(三)考生应在网上报名时如实填写本人思想政治品德情况。省内高中应届毕业生可使用《广东省中学生德育考核表》作为思想政治品德考核鉴定材料。除使用《广东省中学生德育考核表》作为思想政治品德考核鉴定材料的考生外,其他考生应在高考报名前向所在学校或单位(所属的乡镇、街道办事处)申请办理《广东省2026年普通高校招生统一考试考生思想政治品德考核表》(见附15),并在现场确认时交报名点。
十、体检
(一)所有参加2026年普通高考录取的考生应参加普通高考体检。
(二)时间安排。普通高考体检时间为高考报名后至2026年2月1日。各市招生办公室(考试中心、考试院)须于 2026年3月1日前完成体检数据上报工作,具体时间由各市自行确定。参加2026年春季高考高职分类招生录取的考生,复检时间安排在3月4日至6日,复检后需修正数据的,须于3月10日前上报省教育考试院(信息管理处)。仅参加6月份夏季高考招生录取的考生,复检时间安排在6月11日至13日,复检后需修正数据的,须于6月11日至21日期间上报省教育考试院(信息管理处)。
(三)2026年普通高校考试招生体检工作具体要求另文通知。
十一、建档
考生档案包括考生电子档案和纸介质档案。
(一)建立考生电子档案
考生电子档案是考生考试、高校录取、高校学籍管理以及发放毕业证书的依据,考生电子档案数据要确保真实准确、图像规范,且与考生报名登记表等纸介质或相应信息数据库内容一致。
各市、县(市、区)招生办公室在考生报名确认工作结束后,要组织专人做好考生电子档案建立工作。按照省教育考试院有关建立电子档案的要求和标准,准确录入考生的普通高中学业水平考试成绩、综合素质评价、体检情况,并确保电子档案准确无误。
(二)建立考生纸介质档案
应届生和往届生纸介质档案由必备材料和补充材料两部分组成。
1.必备材料
(1)高级中等教育学籍档案;
(2)广东省中学生德育考核表(包括学生每学年的自我鉴定等,此表为省委教育工委、省教育厅制)或广东省2026年普通高校招生统一考试考生思想政治品德考核表;
(3)高级中等教育毕业证书或同等学力证明复印件;
(4)广东省2026年普通高校招生统一考试考生报名表;
(5)广东省2026年普通高校招生统一考试考生体格检查表;
(6)广东省中学生体育合格标准考核成绩登记表或国家学生体质健康标准登记卡或免于执行国家学生体质健康标准申请表;
(7)身份证(或军人身份证)、户口簿复印件;
(8)广东省2026年普通高校招生统一考试考生诚信考试承诺书。
2.补充材料
(9)职业技能证书复印件(3+证书考生用);
(10)团籍材料:入团申请书、入团志愿书、中学生入团积极分子发展对象培养考察表、团员奖惩材料、共青团基本义务告知函(共青团员考生用);
(11)单位或居委会的证明、鉴定;
(12)少数民族聚居区少数民族考生审核表;
(13)广东省2026年普通高考报名应届毕业生学籍户籍审核表(户籍从外省迁入广东省的应届毕业生用);
(14)广东省2026年普通高考报名往届毕业生资格审核表(户籍从外省迁入广东省的往届毕业生用);
(15)广东省进城务工人员随迁子女高考报名资格审核表(随迁子女考生用);
(16)地级市侨办核发的“归侨青年、归侨子女、华侨在国内的子女身份证明”;
(17)广东省2026年普通高校招收特殊专业考生体检表(填报有关院校特殊专业考生用);
(18)符合省招生委员会规定的录取新生有关照顾政策的奖状或证明材料复印件(如烈士子女的有关证明材料)及其他证明学生获奖情况的相关材料。
(19)退出现役证复印件(退役军人用)。普通高中应届毕业生纸介质材料应包括(1)—(8)项内容;其他社会人员的纸介质材料包括上述(2)—(8)项内容;报考 3+证书考试的退役军人纸介质材料包括(2)(3)(4)(5)(7)(8)。有其他档案材料的可同时提供。
凡属于复印件的材料,须由检验员签名、写明日期,加盖核查审定考生报名资格的县(市、区)级以上招生考试机构公章。
(三)建立考生档案的具体要求
1.2026年考生档案须添加“广东省××市普通高校招生考生档案材料目录”清单,并在目录每一项表格后面加空括号。有材料的在清单中相应括号内打“√”,并将档案材料按序装订成册。
2.各地招生考试机构、报名点(中学)在考生档案材料上签署意见和结论时,应对考生高度负责,必须用词准确、文字规范。如需对考生的某方面内容进行特殊说明,可另加附页。报名后考生信息如按相关流程完成修改更正,各地应及时更新其纸介质档案的对应材料,确保纸介质档案内容与考生电子档案信息一致。
十二、其他要求
(一)根据《广东省教育厅关于印发广东省普通高中学业水平考试实施办法的通知》(粤教考〔2019〕18号)和《广东省教育厅关于延用<广东省普通高中学业水平考试实施办法>的通知》(粤教考〔2024〕13号),2026年普通高中应届毕业生须在2026年7月前,通过普通高中学业水平合格性考试,并取得高中毕业学历,才能正常进行录取和入学。其他高中阶段学校应届毕业生,也需取得高中阶段毕业学历,才能正常进行录取和入学。
(二)考生提交各种报考资格证明材料时,须确保真实性,不得弄虚作假。凡弄虚作假、提交虚假证明的,何时发现,何时取消报考资格,已经录取的,取消录取资格。
(三)本规定由广东省招生委员会办公室负责解释。如国家对普通高考报考条件及其他方面有新的规定和要求,将按国家的新规定执行。
附:1.考生属性与考试科目之间关系的说明

2.考生类型与报名材料对应表

3.广东省2026年普通高校招生统一考试考生诚信考试承诺书

4.广东省2026年普通高校招生统一考试网上报名实施细则






5.广东省2026年普通高考报名应届毕业生学籍户籍审核表(户籍从外省迁入广东省的应届生填写)


6.广东省2026年普通高考报名往届毕业生报名资格审核表(户籍从外省迁入广东省的往届生填写)

7.广东省2026年进城务工人员随迁子女高考报名资格审核表(随迁子女考生填写)

8.残疾人报考广东省2026年普通高考合理便利申请表

9.残疾人报考广东省2026年普通高考合理便利专家评估表

10.残疾考生参加广东省2026年普通高考申请合理便利汇总表

11.2026年普通高考加分资格考生信息采集分类表

12.2026年普通高考同等条件下优先录取资格考生信息采集分类表

13.2026年符合普通高考加分资格考生复核表

14.2026年符合普通高考同等条件下优先录取条件资格考生备案表

15.广东省2026年普通高校招生统一考试考生思想政治品德考核表

16.广东省2026年普通高校招生统一考试网上报名简要工作流程




(具体附件请见原文链接)
文章来源:广东省教育考试院
原文标题:关于做好广东省2026年普通高校招生统一考试报名工作的通知
原文链接:https://eea.gd.gov.cn/ptgk/content/post_4776227.html
以上就是“2026年广东高考报名即将开始!3+证书考生记得报名!”的全部内容,更多关于广东3+证书考试、广东春季高考、广东高职高考、广东高考、广东高中升学、广东中职升学、广东中职生升学等的相关内容可添加老师了解更多⬇⬇⬇⬇

本文标题:2026年广东高考报名即将开始!3+证书考生记得报名!
本文链接://www.wearston.com/danzhao/show-htm-itemid-25317.html
2025河北中职计算机网络技术专业有哪些学校开设?11-17
2026河北单招计算机职测训练,附答案解析11-17
高职单招单招报考 更多>